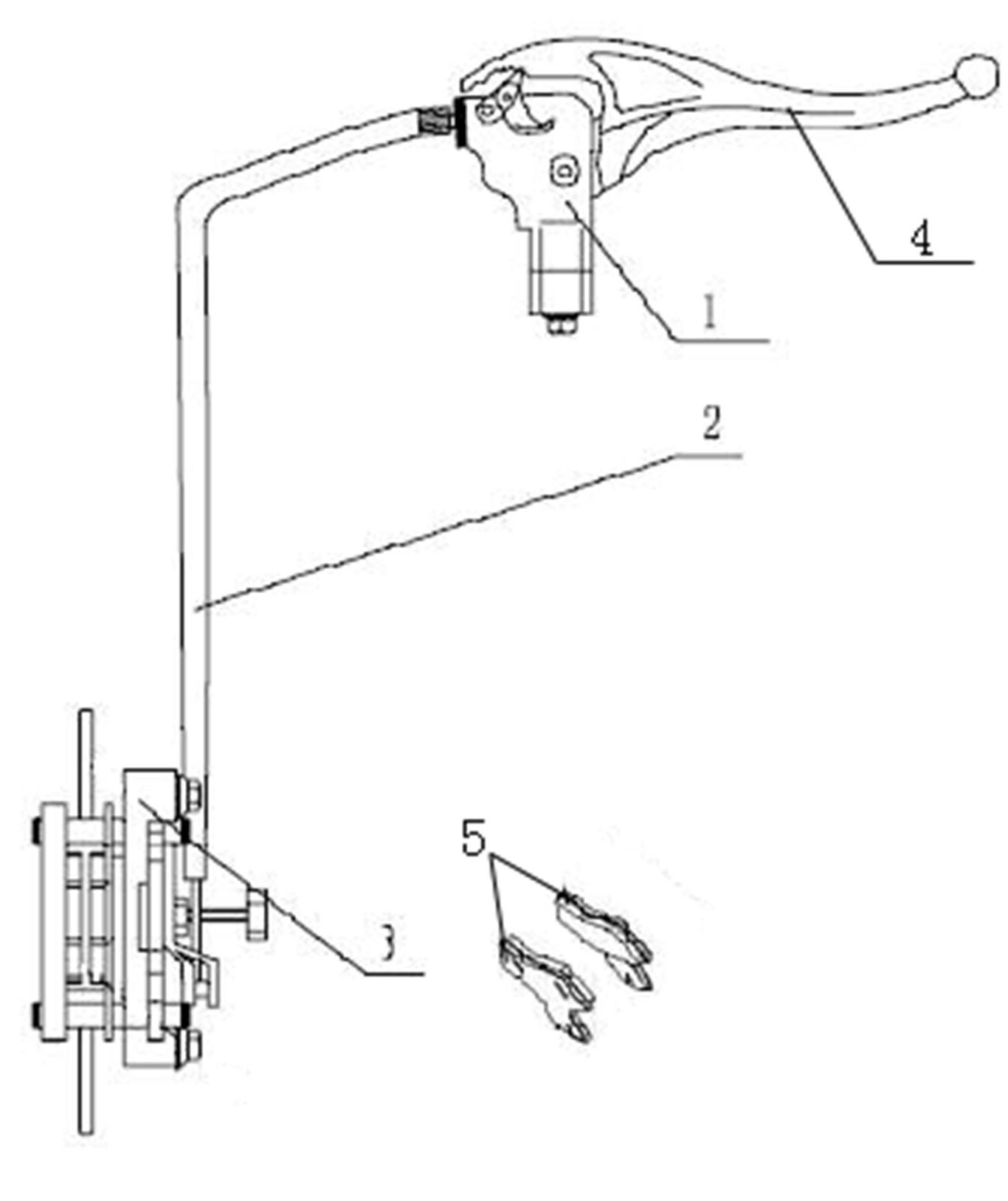
PARKING SYSTEM Ⅰ (FOR EUROPE)

PARKING SYSTEM Ⅰ (FOR EUROPE)Není skladem1 Kč1 Kč bez DPH
Zboží zařazeno v kategoriích
Potřebujete poradit?


🍪 Jak byste rádi své cookies?
Soubory cookies používáme ke správnému fungování našeho e-shopu a v případě vašeho souhlasu také ke sledování statistik o webu, měření efektivity reklamních kampaní, zapamatování vašeho oblíbeného nastavení při používání stránek, či zobrazení reklam odpovídajících vašim preferencím. Více k využití cookies
Náš e-shop a partneři potřebují Váš souhlas s použitím souborů cookies, aby Vám mohli zobrazovat informace týkající se Vašich zájmů.

